新闻中心
[聚食汇·餐饮SaaS]供应链V1.10更新!本期带来:采购询价、接单掌柜供应商报价、毛利分析报表(新)等41项更新...
本期带来:采购询价、采购单号和订货单号查看详情、【盘点数量按结存数量填充】、单据详情【物料小类列】、供应商结算单付款单新增导出和自定义打印、物料汇总增加【统计科目】等项更新...
商户后台
01
配送中心-采购管理,新增【采购询价】

02
配送中心-订货看板-列表页,采购单号支持点击查看单据详情

03
配送中心-订货看板-列表页,订货单号支持点击查看单据详情

04

05
盘点单, 新增【盘点数量按结存数量填充】

06
仓库盘点、临时盘点,单据详情新增【物料小类列】

07
供应商结算单,新增导出、自定义打印

08
供应商付款单,新增导出、自定义打印

09
自采入库等单据列表,新增【按单据、物料搜索】

10
《部门物料进出查询》-物料汇总,列表和导出增加【统计科目】列

11
《部门物料进出查询》新增【物料与部门汇总】维度

12
《部门物料进出查询》进出明细列表和导出增加【供应商】列

13
成本卡,成本额包含调料成本,并修改页面文字为:成本额(含调料成本)

14
成本卡,列表和导出增加成本价和毛利率

15
成本卡,列表和导出增加是否自动出库,同时增加批量设置自动出库按钮

16
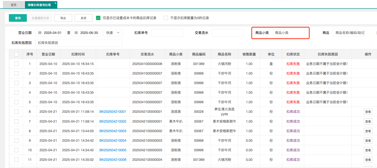
销售扣库查询处理,新增【商品小类查询】

17
采购订单,新增【导出明细】

18
自采入库,总部支持查看门店的自采入库单

19
供应商档案,新增【供应商资质上传和查看】

20
供应商档案,新增【用户】-- 用于登录接单掌柜,不再自动创建员工及用户

21
物料档案,点击批量修改物料、下发物料时导入列表已选择的物料

22
物料档案,新增【盘点频率】列,以及筛选项

23
物料档案,列表和导出新增采购单位、成本单位以及对应的换算比例

24
物料档案,新增【物料图片上传】

25
报损出库-列表,新增【报损原因】的显示和筛选

26
报损统计报表,新增【仓库+物料】维度

27
《供应商供货报表》新增供应明细,点击供应商名称穿透对应“采购明细”

28
库存台账,新增【仅显示补单】筛选,单号后显示【补单标记】

29
《实时库存查询》,新增【仅显示近1个月内产生业务数据的物料】

30
报表,新增【毛利分析报表(新)】

其他更新
销售扣库,退货入库时允许单价为0(不受参数设置控制)
移仓单-修改单价,新增【权限控制】
统配退货申请,开启了负库存参数时,退货申请不校验当前库存
采购订单,使用模版时不需要先选择供应商,选择模版后自动填充供应商
参数设置-采购参数,采购退货/自采退货新增参数【允许单价为0】
参数设置-采购参数,新增【总部显示所有门店的自采入库单】
参数设置-订货参数,新增【订货金额取值单位设置】,默认订货单位
参数设置-库存参数,新增【是否显示补单标记】
参数设置-微信消息提醒,新增【报价提醒】【报价确认提醒】
接单掌柜
01
新增【询价单】,用于供应商查看待报价信息以及报价操作

聚掌柜
01
配送中心机构,新增【配送中心-订货看板】
02
配送中心机构,新增【采购订单】【采购收货】【自采入库】【采购模板】



2025-07-01
浏览次数:次
返回列表